澳门游戏娱乐场棋牌
风风棋牌跑胡子最新版本
- ECSG电蒸汽发生器 E6-72M系列安装操作说明
- 棋牌平台EVC Turflow 换热器使用说明书
- 棋牌平台BT6-B 洁净型压力平衡式最全棋牌平台特点介绍
- 棋牌平台BCV1和BCV20 排污控制阀使用说明书
- 棋牌平台BC3250排污控制器安装使用说明书
联系我们
联系人:刘经理
手机:13295105805
电话:
邮箱:540329100@qq.com
地址:13295105805
棋牌平台SRV66卫生型减压阀
所属栏目:棋牌平台减压阀
发布时间:2024-08-05
关注度:260次
简单介绍:棋牌平台SRV66卫生型减压阀简介:SRV66是一种角型连接,自动排水的卫生型减压阀,其结构材料为316不锈钢,适用于蒸汽、水和不起化学反应的气体。SRV66为ASME BPE卫生型卡箍连接,另外可选ISO 2852卫生型卡箍。标准产品为不锈钢密封,也可提供带FEPM软密封材质的型号。无需外部压力感应管,并具有现场清洁(CIP)功能。典型应
棋牌平台SRV66卫生型减压阀简介:
SRV66是一种角型连接,自动排水的卫生型减压阀,其结构材料为316不锈钢,适用于蒸汽、水和不起化学反应的气体。SRV66为ASME BPE卫生型卡箍连接,另外可选ISO 2852卫生型卡箍。
标准产品为不锈钢密封,也可提供带FEPM软密封材质的型号。无需外部压力感应管,并具有现场清洁(CIP)功能。典型应用包括:洁净蒸汽、气体和液体供应至生物反应器、离心机、消毒器、高压灭菌器、过程罐及洁净设备等。
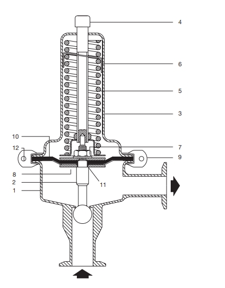
SRV66卫生型减压阀结构图:

标准表面抛光和清洗
介质接触面 - Ra < 3.2 µm 超声波清洗。
根据需要,可有偿提供以下选项:
-介质接触面加工至0.8µm,机械抛光, 吹干后用脱矿水超声波清洗
-介质接触面加工至0.8µm,电解抛光
-介质接触面加工至0.4µm,电解抛光
-脱脂
-FDA认证膜片材质
SRV66卫生型减压阀零件材质:

口径和管道连接
DN15, DN20, DN25, DN32(仅限ISO 2852卡箍), DN40 ,DN50
ASME BPE或 ISO 2852 卫生级卡箍连接
SRV66卫生型减压阀技术参数:

以上就是棋牌平台SRV66卫生型减压阀相关产品信息,如果需要了解安装,维护等说明,请点击查看:棋牌平台SRV66减压阀使用说明书
- 上一篇:棋牌平台25PT压力/温度组合调节阀
- 下一篇:棋牌平台25T导阀型温度调节阀


