风风棋牌跑胡子最新版本
风风棋牌跑胡子最新版本
- ECSG电蒸汽发生器 E6-72M系列安装操作说明
- 棋牌平台EVC Turflow 换热器使用说明书
- 棋牌平台BT6-B 洁净型压力平衡式最全棋牌平台特点介绍
- 棋牌平台BCV1和BCV20 排污控制阀使用说明书
- 棋牌平台BC3250排污控制器安装使用说明书
联系我们
联系人:刘经理
手机:13295105805
电话:
邮箱:540329100@qq.com
地址:13295105805
阀门知识
棋牌平台安全阀安装说明书
- 作者:棋牌平台
- 发布时间:2024-06-16
- 点击:193次
棋牌平台安全阀安装说明书以及安装注意事项如下:

1 安全阀必须垂直向上安装,保持主轴垂直。
2 安全阀应使用尽可能短的管件安装在管道或容器上。
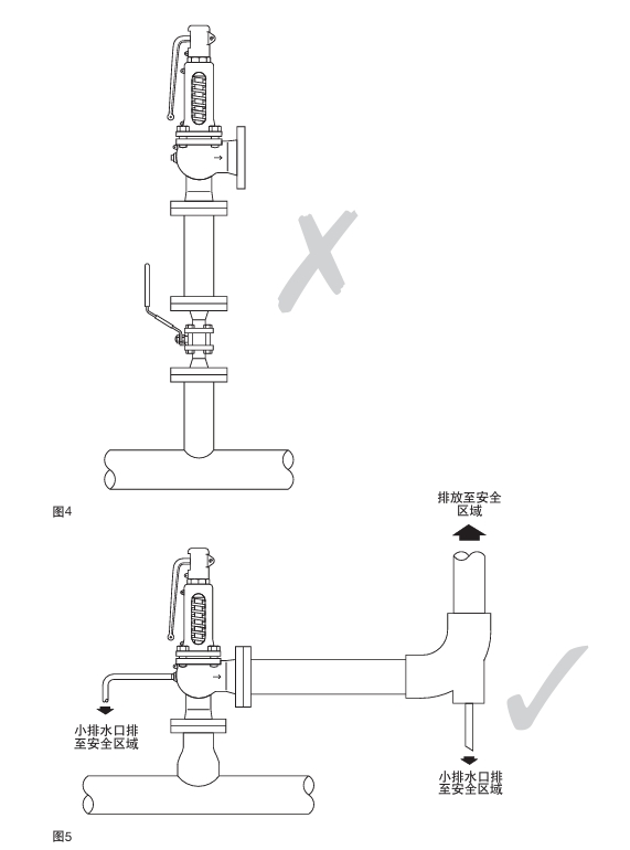
3 安全阀前应无其它阀门或设备,如截止阀(见图4)。
4 入口连接管尺寸不应小于安全阀的尺寸(见图7和图8,第16页)。
5 出口管口径应等于或大于安全阀的出口尺寸,以保持背压低于10%的设定压力。使用长弯 头或配件。
6 安全阀出口管路应引向一安全排放点,在安全阀运行时,确保对人员或设备财产不会造成伤害和危险。
7 安全阀出口管路应有足够的支撑,以防止在安全阀上产生过大的应力。

8 在向上的出口管段处,应在最低点设置一个小口径的排水孔(图5)。该排水孔引出的排水 应无危险或不便。
9 安全阀安装于冷凝水可能积聚在阀体的地方时,建议阀体排水孔(第11页36项)连接一管道排至安全区域。
10 每一台安全阀应分别有独立畅通无阻的排放管。
11 带有开式阀帽的安全阀在释放时可能会喷出流体,因而需确保其安全。
12 安全阀的隔热保温仅限于阀体部分。
13 装于蒸汽系统时,安全阀在运行中可能突然起跳并温度极高,禁止在无防护时接触安全阀
以上就是关于斯派莎安全阀的安装注意事项说明书具体介绍。
- 上一篇:棋牌平台25P减压阀常见故障有哪些以及处理方法
- 下一篇:棋牌平台安全阀压力调试方法
新闻资讯
-
2025-06-23
ECSG电蒸汽发生器 E6-72M系列安装操作说明
-
2025-06-09
棋牌平台EVC Turflow 换热器使用说明书
-
2025-05-19
棋牌平台BT6-B 洁净型压力平衡式最全棋牌平台特点介绍
-
2025-04-28
棋牌平台BCV1和BCV20 排污控制阀使用说明书
-
2025-04-14
棋牌平台BC3250排污控制器安装使用说明书
-
2025-03-31
棋牌平台BC3150排污控制器安装使用说明书
